You are here:
USB 3.2/ PCIe 3.1/ SATA 3.2 Combo PHY IP,在 UMC 28HPC 中经过硅验证
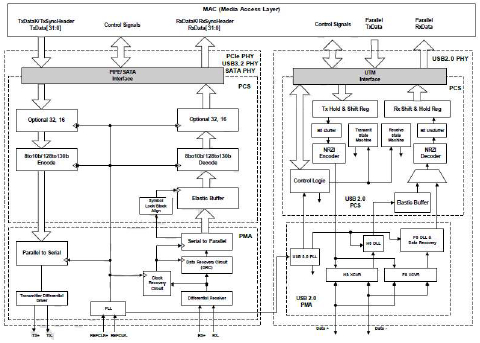
这个PHY comboIP符合PCIe 3.1基本规范的外设组件互连快车(PCIe)、PIPE v4.4接口规范、符合USB 3.2的通用串行总线(USB)、USB 2.0(USB高速和全速)和符合SATA 3.2规范的串行ATA(SATA)规范。通过支持额外的PLL控制、参考时钟控制和嵌入式电源门控控制,实现了更低的功耗运行。此外,低功率模式设置可根据客户产品的需求进行调整,能够广泛适用于各种应用领域
查看 USB 3.2/ PCIe 3.1/ SATA 3.2 Combo PHY IP,在 UMC 28HPC 中经过硅验证 详细介绍:
- 查看 USB 3.2/ PCIe 3.1/ SATA 3.2 Combo PHY IP,在 UMC 28HPC 中经过硅验证 完整数据手册
- 联系 USB 3.2/ PCIe 3.1/ SATA 3.2 Combo PHY IP,在 UMC 28HPC 中经过硅验证 供应商








