You are here:
USB 3.0 PHY IP,在 TSMC 22ULP 中经过硅验证
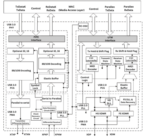
USB收发器为辅助设备设计,这个PHY IP符合USB 3.0(USBSuperSpeed),USB 2.0 PIPE,和UTMI规范。在不牺牲速度或数据吞吐量的同时,USB3.0 PHY IP收发器具有低功耗模式并且尺寸面积较小。为了提供对高性能设计的完全支持,USB3.0 PHY IP包括静电放电(ESD)保护的全芯片物理收发器解决方案,内置抖动注入自检模块和动态均衡电路。USB3 MAC层支持跨公共PHY接口(PIPE)的多个IP源,通过恒定功率、内置抖动喷射输出、内置自检和授权来改变模拟电路特性,消除内部测试监测和抖动。
查看 USB 3.0 PHY IP,在 TSMC 22ULP 中经过硅验证 详细介绍:
- 查看 USB 3.0 PHY IP,在 TSMC 22ULP 中经过硅验证 完整数据手册
- 联系 USB 3.0 PHY IP,在 TSMC 22ULP 中经过硅验证 供应商
Block Diagram of the USB 3.0 PHY IP,在 TSMC 22ULP 中经过硅验证

USB 3 PHY IP
- USB 2.0 PHY TSMC 5nm, 6/7nm, 12/16nm, 22nm, 28nm, 40nm, 65nm, 130nm, 180nm
- USB 2.0 PHY GlobalFoundaries 12nm, 22nm, 28nm, 40nm
- USB 3.0/ PCIe 2.0/ SATA 3.0 Combo PHY IP, Silicon Proven in TSMC 22ULP
- USB 2.0 PHY
- USB 2.0 OTG High / Full / Low- Speed Dual Role IP Core
- USB 2.0 PHY IP, Silicon Proven in TSMC 22ULP